摘 要
本文围绕基于SSM框架的企业人事薪酬管理系统展开研究。在研发背景方面,随着企业规模扩大,传统人事薪酬管理方式效率低下、易出错,难以满足现代企业管理需求,因此开发高效管理系统迫在眉睫。研发目的在于构建一个功能全面、操作便捷的系统,实现企业人事薪酬管理的信息化、自动化与规范化,提升管理效率与准确性,为企业决策提供有力数据支持,具有重要的现实意义。
国内外在该领域已有一定研究,但部分系统功能不够完善,集成度不高。本文采用SSM框架,从系统分析入手,进行了可行性分析,涵盖运营、技术与经济方面,同时对系统流程进行梳理。系统设计部分,详细规划了功能模块,设计了概念模型与物理数据模型。在系统实现上,完成了公共模块、员工资料、人事管理、工资管理、统计管理及系统管理等多个模块的开发。系统测试环节,明确了测试目的,开展功能测试,确保系统稳定可靠运行。最终,该系统实现了员工信息管理、薪酬计算、统计查询等功能,能有效提升企业人事薪酬管理效率,降低管理成本,为企业发展提供有力保障。
关键词:SSM框架;Java;企业人事薪酬管理;系统开发;功能模块
Abstract
This paper focuses on the research of an enterprise personnel and salary management system based on the SSM framework. In terms of the research background, as enterprises expand in scale, traditional personnel and salary management methods are inefficient and error-prone, making it difficult to meet the needs of modern enterprise management. Thus, developing an efficient management system is extremely urgent. The research purpose is to build a comprehensive and easy-to-operate system to achieve informatization, automation, and standardization of enterprise personnel and salary management, improve management efficiency and accuracy, and provide strong data support for enterprise decision-making, which has significant practical significance.
There has been some research in this field both domestically and abroad, but some systems have incomplete functions and low integration. This paper adopts the SSM framework, starting with system analysis, conducting feasibility analysis covering operation, technology, and economy, and also sorting out the system processes. In the system design part, it meticulously plans the functional modules and designs the conceptual model and physical data model. For system implementation, multiple modules including public modules, employee information, personnel management, salary management, statistical management, and system management are developed. In the system testing phase, the testing purpose is clarified, and functional testing is carried out to ensure the stable and reliable operation of the system. Ultimately, this system realizes functions such as employee information management, salary calculation, and statistical query, effectively improving the efficiency of enterprise personnel and salary management and reducing management costs, providing strong support for enterprise development.
Keywords: SSM framework;Java;Enterprise personnel and salary management; System development; Functional modules
目 录
摘 要
Abstract
1引言
1.1研发背景
1.2研发的目的及意义
1.3国内外研发现状
2关键技术
3系统分析
3.1系统可行性分析
3.1.1运营可行
3.1.2技术可行性
3.1.3经济可行性
3.2系统流程分析
3.2.1系统访问控制流程图
3.2.2系统业务操作流图
4系统设计
4.1系统功能模块设计
4.2系统概念模型设计
4.2物理数据模型设计
5系统实现
5.1 公共模块
5.1.1主页
5.1.2在线聊天
5.2 员工资料
5.2.1基本资料
5.2.2 高级资料
5.3.人事管理
5.3.1员工奖惩.
5.3.2员工培训
5.3.3员工好评
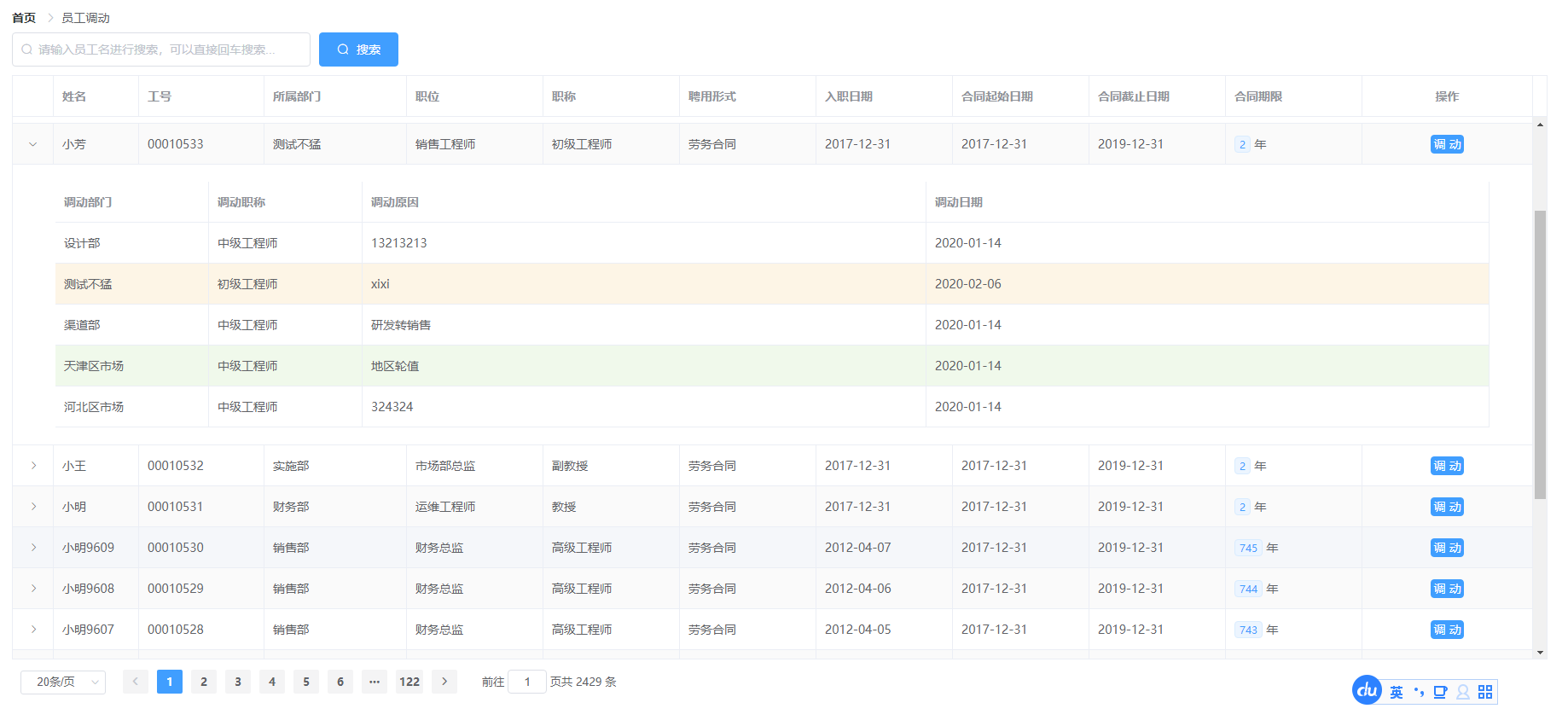
5.3.4员工调动
5.4工资管理
5.4.1工资账套管理
5.4.2员工账套设置
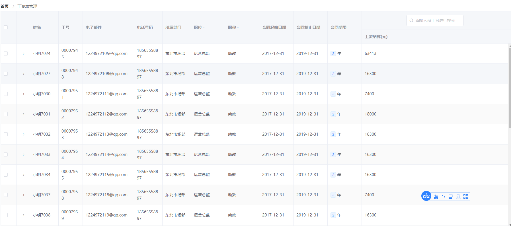
5.4.3工资表管理
5.5统计管理
5.5.1员工积分统计
5.5.2人事信息统计
5.5.3人事记录统计
5.6系统管理
5.5.1基础信设置
5.6.2系统管理
5.6.3操作日志管理
5.6.4操作员管理
6系统测试
6.1 软件测试的目的
6.2 功能测试
6.3 测试结论
结束语
参考文献
致 谢





































